Saisissez votre numéro de TVA ici et cliquez sur Vérifier :
Il n'est pas nécessaire de saisir la partie code pays de votre numéro de TVA car elle a déjà été sélectionnée dans votre adresse de facturation ci-dessus.
Vos coordonnées ont été vérifiées. Numéro de TVA enregistré au nom de:
,
.
Votre commande sera désormais détaxée au titre de la TVA. Nous nous réservons le droit de vérifier ces détails une fois votre commande passée et de rétablir la TVA si nécessaire.
Vos données de TVA n'ont pas été reconnues ou n'étaient pas valides. Votre numéro de TVA doit correspondre à votre pays de facturation tel que spécifié ci-dessus. Il est actuellement spécifié comme . Vous n'avez pas besoin de saisir la partie code pays de votre numéro de TVA car elle a déjà été sélectionnée dans les détails de votre adresse de facturation ci-dessus.
Le service de vérification du numéro de TVA est actuellement hors ligne. Veuillez indiquer votre numéro de TVA dans le champ « Commentaires ou instructions spéciales » ci-dessous et nous appliquerons une remise de TVA après avoir passé votre commande.
Radiateurs d'huile / Échangeurs de chaleur
- Porsche 964 (911) C2 1989-93
- Porsche 964 (911) C4 1989-93
- Porsche 964 (911) RS 3.6L 1991-93
- Porsche 964 (911) RS 3.8L 1991-93
- Porsche 964 (911) TURBO 3.3L 1991-93
- Porsche 964 (911) TURBO 3.6L 1991-93
- Porsche 993 (911) C2 1994-97
- Porsche 993 (911) C4 1994-97
- Porsche 993 (911) RS 1994-97
- Porsche 993 (911) C2S 1994-97
- Porsche 993 (911) C4S 1994-97
- Porsche 993 (911) TURBO 1994-96
- Porsche 993 (911) GT2 1994-97
- Porsche 993 (911) TURBO S 1994-97
Convient à :
Porsche 964 1989-94
Porsche 993 1994-97
Numéros de pièces OEM :
964 207 220 02,
964 207 220 03,
964 207 220 04
Caractéristiques:
• Recréation OEM+ / Haute Performance du refroidisseur d'huile d'origine Längerer & Reich
• Tube et noyau d'ailettes hautes performances modernes à double passage de 50 mm
• Raccords à haut débit en acier inoxydable « Widemouth » M30 x 1,5 Conception améliorée des emplacements de montage du carénage du ventilateur pour une installation plus facile
• Construction 100 % aluminium soudée TIG
• Finition noir satiné
• L'installation Plug-and-Play « Drop-in Fit » ne nécessite absolument aucune modification
• Testé individuellement contre les fuites et la pression à 8 bars (116 psi)
• Estampillage du logo CSF et numéro de série individuel pour le contrôle de la qualité et l'authenticité
• Inserts en mousse spécifiques au produit et boîte 5 plis de haute qualité pour garantir une expédition sans dommage dans le monde entier
• Comprend une feuille de garantie avec les spécifications de couple
• Garantie limitée de 10 ans
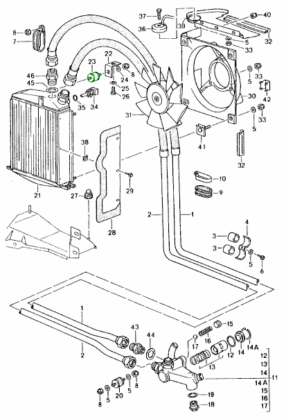
Schéma de référence n° 21
Numéros de référence associés
Numéros associés, remplacés, de référence croisée ou alternatifs à des fins de comparaison.
8334
Le produit que vous consultez fait référence à ces numéros
- Porsche 964 (911) C2 1989-93
- Porsche 964 (911) C4 1989-93
- Porsche 964 (911) RS 3.6L 1991-93
- Porsche 964 (911) RS 3.8L 1991-93
- Porsche 964 (911) TURBO 3.3L 1991-93
- Porsche 964 (911) TURBO 3.6L 1991-93
- Porsche 993 (911) C2 1994-97
- Porsche 993 (911) C4 1994-97
- Porsche 993 (911) RS 1994-97
- Porsche 993 (911) C2S 1994-97
- Porsche 993 (911) C4S 1994-97
- Porsche 993 (911) TURBO 1994-96
- Porsche 993 (911) GT2 1994-97
- Porsche 993 (911) TURBO S 1994-97

Convient :
Porsche 964 1989-94
Porsche 993 1994-97
* Veuillez vérifier et faire correspondre le numéro de pièce de votre relais dans votre voiture avant de commander.
Numéros de référence associés
Numéros associés, remplacés, de référence croisée ou alternatifs à des fins de comparaison.
PCG95125400
Le produit que vous consultez fait référence à ces numéros
- Porsche 964 (911) C2 1989-93
- Porsche 964 (911) C4 1989-93
- Porsche 964 (911) RS 3.6L 1991-93
- Porsche 964 (911) RS 3.8L 1991-93
- Porsche 964 (911) TURBO 3.3L 1991-93
- Porsche 964 (911) TURBO 3.6L 1991-93
- Porsche 993 (911) C2 1994-97
- Porsche 993 (911) C4 1994-97
- Porsche 993 (911) RS 1994-97
- Porsche 993 (911) C2S 1994-97
- Porsche 993 (911) C4S 1994-97
- Porsche 993 (911) TURBO 1994-96
- Porsche 993 (911) GT2 1994-97
- Porsche 993 (911) TURBO S 1994-97
Compatible avec :
Porsche 964 1989-94
Porsche 993 1994-97
* Veuillez vérifier et faire correspondre le numéro de pièce de votre relais dans votre voiture avant de commander.
Numéros de référence associés
Numéros associés, remplacés, de référence croisée ou alternatifs à des fins de comparaison.
PCG95125400
Le produit que vous consultez fait référence à ces numéros
- Porsche 964 (911) C2 1989-93
- Porsche 964 (911) C4 1989-93
- Porsche 964 (911) RS 3.6L 1991-93
- Porsche 964 (911) RS 3.8L 1991-93
- Porsche 964 (911) TURBO 3.3L 1991-93
- Porsche 964 (911) TURBO 3.6L 1991-93

Convient :
Porsche 964 1989-94
Cliquez sur "Zoom avant" pour le schéma des grandes pièces.
Schéma Ref No 21.
Numéros de référence associés
Numéros associés, remplacés, de référence croisée ou alternatifs à des fins de comparaison.
96420741500
Le produit que vous consultez fait référence à ces numéros
- Porsche 964 (911) C2 1989-93
- Porsche 964 (911) C4 1989-93
- Porsche 964 (911) RS 3.6L 1991-93
- Porsche 964 (911) RS 3.8L 1991-93
- Porsche 964 (911) TURBO 3.3L 1991-93
- Porsche 964 (911) TURBO 3.6L 1991-93
- Porsche 993 (911) C2 1994-97
- Porsche 993 (911) C4 1994-97
- Porsche 993 (911) RS 1994-97
- Porsche 993 (911) C2S 1994-97
- Porsche 993 (911) C4S 1994-97
- Porsche 993 (911) TURBO 1994-96
- Porsche 993 (911) GT2 1994-97
- Porsche 993 (911) TURBO S 1994-97

Convient :
Porsche 964 1989-94
Porsche 993 1994-98
Cliquez sur "Zoom avant" pour le schéma des grandes pièces.
Diagramme Réf N° 46.
Numéros de référence associés
Numéros associés, remplacés, de référence croisée ou alternatifs à des fins de comparaison.
99913604509
Le produit que vous consultez fait référence à ces numéros
- Porsche 964 (911) C2 1989-93
- Porsche 964 (911) C4 1989-93
- Porsche 964 (911) RS 3.6L 1991-93
- Porsche 964 (911) RS 3.8L 1991-93
- Porsche 964 (911) TURBO 3.3L 1991-93
- Porsche 964 (911) TURBO 3.6L 1991-93
- Porsche 993 (911) C2 1994-97
- Porsche 993 (911) C4 1994-97
- Porsche 993 (911) RS 1994-97
- Porsche 993 (911) C2S 1994-97
- Porsche 993 (911) C4S 1994-97
- Porsche 993 (911) TURBO 1994-96
- Porsche 993 (911) GT2 1994-97
- Porsche 993 (911) TURBO S 1994-97

Convient :
Porsche 964 1989-94
Porsche 993 1994-98
Cliquez sur "Zoom avant" pour le schéma des grandes pièces.
Diagramme Réf N° 23.
Numéros de référence associés
Numéros associés, remplacés, de référence croisée ou alternatifs à des fins de comparaison.
99970332300
Le produit que vous consultez fait référence à ces numéros
- Porsche 964 (911) C2 1989-93
- Porsche 964 (911) C4 1989-93
- Porsche 964 (911) RS 3.6L 1991-93
- Porsche 964 (911) RS 3.8L 1991-93
- Porsche 964 (911) TURBO 3.3L 1991-93
- Porsche 964 (911) TURBO 3.6L 1991-93
- Porsche 993 (911) C2 1994-97
- Porsche 993 (911) C4 1994-97
- Porsche 993 (911) RS 1994-97
- Porsche 993 (911) C2S 1994-97
- Porsche 993 (911) C4S 1994-97
- Porsche 993 (911) TURBO 1994-96
- Porsche 993 (911) GT2 1994-97
- Porsche 993 (911) TURBO S 1994-97

Convient :
Porsche 964 1989-94
Porsche 993 1994-98
Cliquez sur "Zoom avant" pour le schéma des grandes pièces.
Diagramme Réf N° 23.
Numéros de référence associés
Numéros associés, remplacés, de référence croisée ou alternatifs à des fins de comparaison.
99970332300
Le produit que vous consultez fait référence à ces numéros
- Porsche 964 (911) C2 1989-93
- Porsche 964 (911) C4 1989-93
- Porsche 964 (911) RS 3.6L 1991-93
- Porsche 964 (911) RS 3.8L 1991-93
- Porsche 964 (911) TURBO 3.3L 1991-93
- Porsche 964 (911) TURBO 3.6L 1991-93
- Porsche 993 (911) C2 1994-97
- Porsche 993 (911) C4 1994-97
- Porsche 993 (911) RS 1994-97
- Porsche 993 (911) C2S 1994-97
- Porsche 993 (911) C4S 1994-97
- Porsche 993 (911) TURBO 1994-96
- Porsche 993 (911) GT2 1994-97
- Porsche 993 (911) TURBO S 1994-97
Convient à :
Porsche 964 1989-94
Porsche 993 1994-97
Schéma de référence n° 21
Numéros de référence associés
Numéros associés, remplacés, de référence croisée ou alternatifs à des fins de comparaison.
96420722004
Le produit que vous consultez fait référence à ces numéros
- Porsche 964 (911) C2 1989-93
- Porsche 964 (911) C4 1989-93
- Porsche 964 (911) RS 3.6L 1991-93
- Porsche 964 (911) RS 3.8L 1991-93
- Porsche 964 (911) TURBO 3.3L 1991-93
- Porsche 964 (911) TURBO 3.6L 1991-93
- Porsche 993 (911) C2 1994-97
- Porsche 993 (911) C4 1994-97
- Porsche 993 (911) RS 1994-97
- Porsche 993 (911) C2S 1994-97
- Porsche 993 (911) C4S 1994-97
- Porsche 993 (911) TURBO 1994-96
- Porsche 993 (911) GT2 1994-97
- Porsche 993 (911) TURBO S 1994-97
Convient à :
Porsche 964 1989-94
Porsche 993 1994-97
Schéma de référence n° 21
Numéros de référence associés
Numéros associés, remplacés, de référence croisée ou alternatifs à des fins de comparaison.
96420722004
Le produit que vous consultez fait référence à ces numéros
Radiateurs d'huile et échangeurs de chaleur : un contrôle optimal de la température pour des performances Porsche optimales
Les radiateurs d'huile et les échangeurs de chaleur sont des composants essentiels du système de refroidissement du moteur et de la transmission de votre Porsche. Ils régulent la température de l'huile en évacuant la chaleur des fluides lubrifiants ou hydrauliques, garantissant ainsi des performances constantes, une lubrification efficace et une protection durable du moteur, même dans des conditions de conduite extrêmes.
Chez Design911, nous proposons une gamme complète de radiateurs d'huile et d'échangeurs de chaleur d'origine et de qualité constructeur pour les modèles Porsche, notamment la 911, le Boxster, le Cayman, le Cayenne, le Macan et la Panamera. Chaque unité est conçue pour un montage précis, un transfert de chaleur efficace et une fiabilité à long terme, garantissant ainsi les performances élevées qui font la réputation des véhicules Porsche.
À quoi servent les radiateurs à huile et les échangeurs de chaleur ?
Les radiateurs et échangeurs de chaleur à huile jouent un rôle essentiel dans la régulation de la température et la protection du système. Ils :
- Dissipe la chaleur de l’huile moteur ou de transmission pour éviter la surchauffe.
- Maintenir une température d’huile stable pour une viscosité et une lubrification optimales.
- Prolongez la durée de vie des composants en évitant les dommages thermiques.
- Soutenir l'efficacité du moteur et de la boîte de vitesses dans des conditions de charge élevée ou de vitesse élevée.
En contrôlant la température de l’huile, ces pièces assurent une distribution de puissance constante, une usure réduite et une plus grande fiabilité, que ce soit sur route ou sur piste.
Pourquoi les radiateurs et les échangeurs de chaleur à huile tombent-ils en panne ?
Bien que conçus pour résister à des conditions extrêmes, ces composants peuvent, avec le temps, tomber en panne à cause de l'usure, de la corrosion ou de la contamination. Les causes les plus fréquentes sont :
- Corrosion ou blocage interne dû à des débris ou à des fluides dégradés.
- Dommages matériels causés par des débris de la route ou un impact.
- Fuites d'huile ou de liquide de refroidissement dues à des boîtiers ou des joints fissurés.
- Efficacité de transfert de chaleur réduite en raison d'ailettes obstruées ou d'entartrage interne.
- Détérioration liée à l’âge des passages internes ou des joints.
Les symptômes de défaillance comprennent des fuites d’huile, une augmentation de la température du moteur, une pression d’huile réduite ou une contamination entre les systèmes d’huile et de liquide de refroidissement.
Pourquoi remplacer un radiateur d’huile ou un échangeur de chaleur défectueux ?
Un radiateur d'huile endommagé ou inefficace peut entraîner une surchauffe, une perte de lubrification et de graves dommages au moteur ou à la transmission. Le remplacement des unités défectueuses restaure l'efficacité du refroidissement et garantit à votre Porsche des performances et une fiabilité optimales.
Les avantages du remplacement comprennent :
- Contrôle de la température de l'huile et stabilité de la pression restaurés.
- Prévention de la surchauffe et de la contamination de l'huile.
- Amélioration de la longévité du moteur et de la boîte de vitesses.
- Construction et montage de qualité fabricant pour une tranquillité d'esprit.
Chaque radiateur et échangeur de chaleur de cette gamme est conçu pour respecter ou dépasser les normes d'usine, en utilisant des matériaux avancés et une fabrication de précision pour une durabilité, une résistance à la corrosion et des performances de refroidissement supérieures.