Bitte warten… 
Bitte warten Sie, während wir Ihre Bestellung bearbeiten.
Drücken Sie nicht die Zurück-Taste.… 
Sub5Club Store https://pitp.club https://pitp.club https://pitp.club

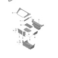
Sitzgestell / Sportsitz Plus / Zubehör / Schaltergehäuse 981C Cayman GT4 2016 - PORSCHE

Klicken Sie auf die Bildnummern, um die Produktinformation zu sehen

Diagram 817-023 Porsche 992 (911) MK1 2019-2024 Karosserie SKU: 9P2881105A, sitzgestell sportsitz plus manuell,SKU: 9P2881106A, sitzgestell sportsitz plus manuell,SKU: 9P1881105P, sitzgestell sportsitz plus elektrisch mit: speicher d >> - mj 2015,SKU: 9P1881105P, sitzgestell (elektrisch verstellbar) sportsitz elektrisch mit: speicher,SKU: 9P1881106G, sitzgestell sportsitz plus elektrisch mit: speicher d >> - mj 2015,SKU: 9P1881106G, sitzgestell (elektrisch verstellbar) sportsitz elektrisch mit: speicher SKU: 99152132500D20, verkleidung für schalter sportsitz plus silbergrau metallic,SKU: 99152132600D20, verkleidung für schalter sportsitz plus silbergrau metallic,SKU: 981521325001E0, verkleidung für schalter sportsitz plus schwarzmetallic,SKU: 981521326001E0, verkleidung für schalter sportsitz plus schwarzmetallic SKU: 9A700748300, außensechskant-rundschraube SKU: 99152161200, schutzplatte gürtelverschluss sitzgestell vordersitz SKU: 981521627001E0, betätigungshebel höhenverstellung sitzgestell vordersitz schwarz,SKU: 981521628001E0, betätigungshebel höhenverstellung sitzgestell vordersitz schwarz SKU: 981521629001E0, abdeckkappe betätigungshebel schwarz 817-023