Powerflex Polyurethan-Buchsen
Obere und untere Buchse des A-Rahmen-Arms. Porsche 911 / 912 / 914 Powerflex
- Porsche 911 1965-1968 2.0L / 912 SWB (F)
- Porsche 911 1968-1973 2.2L / 2.4L / 2.7L RS LWB (F)
- Porsche 911 1974-1977 2.7L / 1976-77 3.0 Carrera
- Porsche 911 1978-1983 3.0L / SC
- Porsche 911 1984-1986 3.2L
- Porsche 911 1987-1989 3.2L G50
- Porsche 911 1975-1977 3.0L Turbo (930)
- Porsche 911 1978-1989 3.3L Turbo (930)
- Porsche 914 (1970-1976)
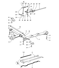
Passend für OE Wishbone Front (A-Frame) Teilenummern 91134190100 /91134190200.
SET MIT 4 BÜSCHEN

Passend für:
Nicht für Modelle geeignet, die vor 1969 hergestellt wurden, sondern für alle Modelle von 1969 bis 1989.
Porsche 911 1969-89
Porsche 912
Porsche 914 1970-76
Passt zu Nr. 14 im Diagramm
Powerflex. Wenn Sie die Gummi-Aufhängungsbuchsen Ihres Autos durch Polyurethan-Aufhängungsbuchsen ersetzen, erhalten Sie:
- Bessere Straßenlage
- Konstante Lenkgeometrie
- Erhöhte Reifenlebensdauer
- Reaktionsschnellere Lenkung
- Längere Lebensdauer der Aufhängungskomponenten
Zugehörige Referenznummern
Verwandte, ersetzte, Querverweisoder Alternativnummern zum Vergleich.
PFF57-401
Das von Ihnen angezeigte Produkt verweist auf diese Nummern
Sicher einkaufen
12 Monate Garantie
Weltweite Lieferung
Stabilisatorlager hinten 16mm für Porsche 911 / 914 Powerflex
- Porsche 911 1965-1968 2.0L / 912 SWB (F)
- Porsche 914 (1970-1976)
Ersatz für Porsche-Teile Nr. 90133379304.
4ER-SET

Hintere Stabilisatorbuchse – 16 mm .
Hintere Drop-Link-Buchse – 16 mm.
Passt – links und rechts.
Passend für:
Porsche 911 1965-68 L / T / TU Hinten 4 Stück pro Auto erforderlich
(Stabilisatorstange und Drop-Link)
Porsche 914 1970-76 Hinten 2 pro Auto erforderlich
(Stabilisatorstange)
Diagramm Ref. Nr. 2.
Klicken Sie auf „Vergrößern“, um ein Diagramm mit großen Teilen anzuzeigen.
HINWEIS: Bitte überprüfen Sie vor der Bestellung den Durchmesser des Stabilisators.
Powerflex. Wenn Sie die Gummi-Aufhängungsbuchsen Ihres Autos durch Polyurethan-Aufhängungsbuchsen ersetzen, erhalten Sie:
- Bessere Straßenlage
- Konstante Lenkgeometrie
- Erhöhte Reifenlebensdauer
- Reaktionsschnellere Lenkung
- Längere Lebensdauer der Aufhängungskomponenten
Zugehörige Referenznummern
Verwandte, ersetzte, Querverweisoder Alternativnummern zum Vergleich.
PFR57-412-16
Das von Ihnen angezeigte Produkt verweist auf diese Nummern
Sicher einkaufen
12 Monate Garantie
Weltweite Lieferung
Stabilisator-Gummilager vorne 13 mm für Porsche 911 / 914 (OE-Teil 90134379202)
- Porsche 911 1965-1968 2.0L / 912 SWB (F)
- Porsche 911 1968-1973 2.2L / 2.4L / 2.7L RS LWB (F)
- Porsche 914 (1970-1976)
Verkauft als Paar
OEM-Teilenummer: 90134379202

Passend für:
Porsche 911S 1965-67
Porsche 911S 1968 USA
Porsche 911S 1969
Porsche 911S / Carrera 2.7L / 911T/E / 911T-K 1970-73
Porsche 914 1970-76
Hinweis: Bitte überprüfen Sie vor der Bestellung den Stangendurchmesser.
Klicken Sie auf „Vergrößern“, um ein Diagramm mit großen Teilen anzuzeigen.
Diagramm Ref. Nr. 4.
Powerflex. Wenn Sie die Gummi-Aufhängungsbuchsen Ihres Autos durch Polyurethan-Aufhängungsbuchsen ersetzen, erhalten Sie:
- Bessere Straßenlage
- Konstante Lenkgeometrie
- Erhöhte Reifenlebensdauer
- Reaktionsschnellere Lenkung
- Längere Lebensdauer der Aufhängungskomponenten
Zugehörige Referenznummern
Verwandte, ersetzte, Querverweisoder Alternativnummern zum Vergleich.
PFF57-1403-13
Das von Ihnen angezeigte Produkt verweist auf diese Nummern
Sicher einkaufen
12 Monate Garantie
Weltweite Lieferung
Stabilisator-Gummilager vorne 14 mm für Porsche 911 / 914 (OE-Teil 90134379202)
- Porsche 911 1965-1968 2.0L / 912 SWB (F)
- Porsche 911 1968-1973 2.2L / 2.4L / 2.7L RS LWB (F)
- Porsche 914 (1970-1976)
Verkauft als Paar
OEM-Teilenummer: 90134379202

Passend für:
Porsche 911S 1965-67
Porsche 911S 1968 USA
Porsche 911S 1969
Porsche 911S / Carrera 2.7L / 911T/E / 911T-K 1970-73
Porsche 914 1970-76
Hinweis: Bitte überprüfen Sie vor der Bestellung den Stangendurchmesser.
Klicken Sie auf „Vergrößern“, um ein Diagramm mit großen Teilen anzuzeigen.
Diagramm Ref. Nr. 4.
Powerflex. Wenn Sie die Gummi-Aufhängungsbuchsen Ihres Autos durch Polyurethan-Aufhängungsbuchsen ersetzen, erhalten Sie:
- Bessere Straßenlage
- Konstante Lenkgeometrie
- Erhöhte Reifenlebensdauer
- Reaktionsschnellere Lenkung
- Längere Lebensdauer der Aufhängungskomponenten
Zugehörige Referenznummern
Verwandte, ersetzte, Querverweisoder Alternativnummern zum Vergleich.
PFF57-1403-14
Das von Ihnen angezeigte Produkt verweist auf diese Nummern
Sicher einkaufen
12 Monate Garantie
Weltweite Lieferung
Stabilisator-Gummilager vorne 15 mm für Porsche 911 / 914 (OE-Teil 90134379202)
- Porsche 911 1965-1968 2.0L / 912 SWB (F)
- Porsche 911 1968-1973 2.2L / 2.4L / 2.7L RS LWB (F)
- Porsche 914 (1970-1976)
Verkauft als Paar
OEM-Teilenummer: 90134379202

Passend für:
Porsche 911S 1965-67
Porsche 911S 1968 USA
Porsche 911S 1969
Porsche 911S / Carrera 2.7L / 911T/E / 911T-K 1970-73
Porsche 914 1970-76
Hinweis: Bitte überprüfen Sie vor der Bestellung den Stangendurchmesser.
Klicken Sie auf „Vergrößern“, um ein Diagramm mit großen Teilen anzuzeigen.
Diagramm Ref. Nr. 4.
Powerflex. Wenn Sie die Gummi-Aufhängungsbuchsen Ihres Autos durch Polyurethan-Aufhängungsbuchsen ersetzen, erhalten Sie:
- Bessere Straßenlage
- Konstante Lenkgeometrie
- Erhöhte Reifenlebensdauer
- Reaktionsschnellere Lenkung
- Längere Lebensdauer der Aufhängungskomponenten
Zugehörige Referenznummern
Verwandte, ersetzte, Querverweisoder Alternativnummern zum Vergleich.
PFF57-1403-15
Das von Ihnen angezeigte Produkt verweist auf diese Nummern
Sicher einkaufen
12 Monate Garantie
Weltweite Lieferung
Stabilisator-Gummilager vorne 16 mm für Porsche 911 / 914 (OE-Teil 90134379202)
- Porsche 911 1965-1968 2.0L / 912 SWB (F)
- Porsche 911 1968-1973 2.2L / 2.4L / 2.7L RS LWB (F)
- Porsche 914 (1970-1976)
Verkauft als Paar
OEM-Teilenummer: 90134379202

Passend für:
Porsche 911S 1965-67
Porsche 911S 1968 USA
Porsche 911S 1969
Porsche 911S / Carrera 2.7L / 911T/E / 911T-K 1970-73
Porsche 914 1970-76
Hinweis: Bitte überprüfen Sie vor der Bestellung den Stangendurchmesser.
Klicken Sie auf „Vergrößern“, um ein Diagramm mit großen Teilen anzuzeigen.
Diagramm Ref. Nr. 4.
Powerflex. Wenn Sie die Gummi-Aufhängungsbuchsen Ihres Autos durch Polyurethan-Aufhängungsbuchsen ersetzen, erhalten Sie:
- Bessere Straßenlage
- Konstante Lenkgeometrie
- Erhöhte Reifenlebensdauer
- Reaktionsschnellere Lenkung
- Längere Lebensdauer der Aufhängungskomponenten
Zugehörige Referenznummern
Verwandte, ersetzte, Querverweisoder Alternativnummern zum Vergleich.
PFF57-1403-16
Das von Ihnen angezeigte Produkt verweist auf diese Nummern
Sicher einkaufen
12 Monate Garantie
Weltweite Lieferung
Drop-Link-Buchsen vorne. Porsche 911 / 914 Powerflex
- Porsche 911 1965-1968 2.0L / 912 SWB (F)
- Porsche 911 1968-1973 2.2L / 2.4L / 2.7L RS LWB (F)
- Porsche 914 (1970-1976)
4ER-SET. Komplett mit Metalleinsätzen.

Passend für:
Porsche 911 1965-69
Porsche 911 1970-73
Porsche 911 1974-77
Porsche 930 1975-77
Porsche 914 1970-76
Klicken Sie auf „Vergrößern“, um ein Diagramm mit großen Teilen anzuzeigen.
Diagramm Ref. Nr. 35
Powerflex. Wenn Sie die Gummi-Aufhängungsbuchsen Ihres Autos durch Polyurethan-Aufhängungsbuchsen ersetzen, erhalten Sie:
- Bessere Straßenlage
- Konstante Lenkgeometrie
- Erhöhte Reifenlebensdauer
- Reaktionsschnellere Lenkung
- Längere Lebensdauer der Aufhängungskomponenten
Zugehörige Referenznummern
Verwandte, ersetzte, Querverweisoder Alternativnummern zum Vergleich.
PFF57-402
Das von Ihnen angezeigte Produkt verweist auf diese Nummern
Sicher einkaufen
12 Monate Garantie
Weltweite Lieferung
Buchse Stabilisator vorne 23,5mm. Porsche 986 Boxster / 996 / 997
- Porsche Boxster 986 2.5L 1997-99
- Porsche Boxster 986 2.7L 1999-02
- Porsche Boxster S 986 3.2L 1999-02
- Porsche Boxster 986 2.7L 2003-04
- Porsche Boxster S 986 3.2L 2003-04
- Porsche Boxster 987 2.7L 2005 -08/08
- Porsche 996 C2 3.4L 1997-08/01
- Porsche 996 C4 3.4L 1997-08/01
- Porsche 996 C2 3.6L 09/01-2005
- Porsche 996 C4 3.6L 09/01-2005
- Porsche 996 C4S 3.6L 09/01-2005
- Porsche 996 TURBO 2000-05
- Porsche 996 GT2 2001-05
- Porsche 997 MK1 Carrera 2 3.6L 2005-08
- Porsche 997 MK1 Carrera 2S 3.8L 2005-08
- Porsche 997 MK1 Carrera 4 3.6L 2005-08
- Porsche 997 MK1 Carrera 4S 3.8L 2005-08
- Porsche 997 MK1 TURBO 2007-09
- Porsche 914 (1970-1976)
Verkauft als Paar
OEM-Teilenummer: 99634379212
Hinweis: Bitte überprüfen Sie vor der Bestellung den Durchmesser des Stabilisators.

Passend für:
Porsche 986 Boxster 2.5L 1997-99 *M030 VORNE
Porsche 986 Boxster 2.7L 2000>> *M030 VORNE
Porsche 986 Boxster S 3.2L 2000>> **I029 VORNE
Porsche 987 Boxster 2.7L 2005-08 TIPTRONIC **I029 VORNE
Porsche 996 Carrera 1998-05 C2 COUPE TIPTRONIC VORNE
Porsche 996 Carrera 1998-05 C2 COUPE *M030 VORNE
Porsche 996 Carrera 1998-05 CABRIO VORNE
Porsche 996 Carrera 1998-05 TARGA HANDBUCH VORNE
Porsche 996 Carrera 1998-05 C4 *M030 VORNE
Porsche 996 Carrera 2001-05 C4S VORNE
Porsche 996 Turbo 2001-05 Standard-Chassis VORNE
Porsche 997 MKI Carrera 2005–08 C2 HANDBUCH **I029 VORNE
Porsche 997 MKI Carrera 2005-08 C4 MIT PASM FRONT
Porsche 997 MKI Carrera 2005-08 C4S MIT PASM FRONT
Porsche 997 MKI Carrera 2005-08 TARGA MIT PASM FRONT
Porsche 997 MKI Turbo 2008-09 VORNE
* M030 – Fahrzeuge mit Sportfahrwerk
** I029 – Fahrzeuge mit Standard-Chassis
Klicken Sie auf „Vergrößern“, um ein Diagramm mit großen Teilen anzuzeigen.
Diagramm Ref. Nr. 2.
Powerflex. Wenn Sie die Gummi-Aufhängungsbuchsen Ihres Autos durch Polyurethan-Aufhängungsbuchsen ersetzen, erhalten Sie:
- Bessere Straßenlage
- Konstante Lenkgeometrie
- Erhöhte Reifenlebensdauer
- Reaktionsschnellere Lenkung
- Längere Lebensdauer der Aufhängungskomponenten
Zugehörige Referenznummern
Verwandte, ersetzte, Querverweisoder Alternativnummern zum Vergleich.
PFF57-501-23.5
Das von Ihnen angezeigte Produkt verweist auf diese Nummern
Sicher einkaufen
12 Monate Garantie
Weltweite Lieferung
Oberlagerbuchse für vorderes Federbein. Porsche 911 65-89 / 914 Powerflex
- Porsche 911 1965-1968 2.0L / 912 SWB (F)
- Porsche 911 1968-1973 2.2L / 2.4L / 2.7L RS LWB (F)
- Porsche 911 1974-1977 2.7L / 1976-77 3.0 Carrera
- Porsche 911 1978-1983 3.0L / SC
- Porsche 911 1984-1986 3.2L
- Porsche 911 1987-1989 3.2L G50
- Porsche 911 1975-1977 3.0L Turbo (930)
- Porsche 911 1978-1989 3.3L Turbo (930)
- Porsche 914 (1970-1976)
Verkauft als Paar (beide Strebenoberteile)
Passt auf Teilenummer: 91134101800

Passend für:
Porsche 911 1965-1989
Porsche 914 1970-1976
Klicken Sie auf „Vergrößern“, um ein Diagramm mit großen Teilen anzuzeigen.
Passt zu Nr. 9 im Diagramm.
Powerflex. Wenn Sie die Gummi-Aufhängungsbuchsen Ihres Autos durch Polyurethan-Aufhängungsbuchsen ersetzen, erhalten Sie:
- Bessere Straßenlage
- Konstante Lenkgeometrie
- Erhöhte Reifenlebensdauer
- Reaktionsschnellere Lenkung
- Längere Lebensdauer der Aufhängungskomponenten
Zugehörige Referenznummern
Verwandte, ersetzte, Querverweisoder Alternativnummern zum Vergleich.
PFF57-406
Das von Ihnen angezeigte Produkt verweist auf diese Nummern
Sicher einkaufen
12 Monate Garantie
Weltweite Lieferung
Powerflex vorderer Querlenker (A-Frame) hintere Gummibuchse. Porsche 911
- Porsche 911 1965-1968 2.0L / 912 SWB (F)
- Porsche 914 (1970-1976)
Verkauft als Paar (beide Arme)

Passend für:
Porsche 911/911S 1965-1967
Klicken Sie auf „Vergrößern“, um ein Diagramm mit großen Teilen anzuzeigen.
Diagramm Nr. 2
Powerflex. Wenn Sie die Gummi-Aufhängungsbuchsen Ihres Autos durch Polyurethan-Aufhängungsbuchsen ersetzen, erhalten Sie:
- Bessere Straßenlage
- Konstante Lenkgeometrie
- Erhöhte Reifenlebensdauer
- Reaktionsschnellere Lenkung
- Längere Lebensdauer der Aufhängungskomponenten
Zugehörige Referenznummern
Verwandte, ersetzte, Querverweisoder Alternativnummern zum Vergleich.
PFF57-1402
Das von Ihnen angezeigte Produkt verweist auf diese Nummern
Sicher einkaufen
12 Monate Garantie
Weltweite Lieferung
Powerflex Querlenker vorne (A-Frame) Gummilager. Porsche 911/912
- Porsche 911 1965-1968 2.0L / 912 SWB (F)
- Porsche 914 (1970-1976)
Verkauft als Paar (beide Arme)

OEM-Teilenummer: 91434142200, 91434142201
Passend für:
Porsche 911/911S 1965-1967
Porsche 912 1965-1967
Klicken Sie auf „Vergrößern“, um ein Diagramm mit großen Teilen anzuzeigen.
Diagramm Nr. 10
Powerflex. Wenn Sie die Gummi-Aufhängungsbuchsen Ihres Autos durch Polyurethan-Aufhängungsbuchsen ersetzen, erhalten Sie:
- Bessere Straßenlage
- Konstante Lenkgeometrie
- Erhöhte Reifenlebensdauer
- Reaktionsschnellere Lenkung
- Längere Lebensdauer der Aufhängungskomponenten
Zugehörige Referenznummern
Verwandte, ersetzte, Querverweisoder Alternativnummern zum Vergleich.
PFF57-1401
Das von Ihnen angezeigte Produkt verweist auf diese Nummern
Sicher einkaufen
12 Monate Garantie
Weltweite Lieferung
Hinterer Stabilisator/Drop-Link-Buchse hinten 15 mm für Porsche 911/914 (OE-Teil 90133379302)
- Porsche 911 1965-1968 2.0L / 912 SWB (F)
- Porsche 911 1968-1973 2.2L / 2.4L / 2.7L RS LWB (F)
- Porsche 914 (1970-1976)
4ER-SET

Hintere Stabilisatorbuchse – 15 mm .
Hintere Drop-Link-Buchse – 15 mm .
Passt – links und rechts.
Passend für:
Porsche 911 1965-1973 Hinten
Porsche 914 1970-1976 Hinten
Hinweis: Bitte überprüfen Sie vor der Bestellung den Durchmesser des Stabilisators.
Klicken Sie auf „Vergrößern“, um ein Diagramm mit großen Teilen anzuzeigen.
Diagramm Ref. Nr. 2.
Powerflex. Wenn Sie die Gummi-Aufhängungsbuchsen Ihres Autos durch Polyurethan-Aufhängungsbuchsen ersetzen, erhalten Sie:
- Bessere Straßenlage
- Konstante Lenkgeometrie
- Erhöhte Reifenlebensdauer
- Reaktionsschnellere Lenkung
- Längere Lebensdauer der Aufhängungskomponenten
Zugehörige Referenznummern
Verwandte, ersetzte, Querverweisoder Alternativnummern zum Vergleich.
PFR57-412-15
Das von Ihnen angezeigte Produkt verweist auf diese Nummern
Sicher einkaufen
12 Monate Garantie
Weltweite Lieferung
Stabilisator / Drop Link Bush hinten 18mm für Porsche 911 / 914 Powerflex
- Porsche 911 1974-1977 2.7L / 1976-77 3.0 Carrera
- Porsche 911 1978-1983 3.0L / SC
- Porsche 911 1975-1977 3.0L Turbo (930)
- Porsche 914 (1970-1976)
Stabilisatorbuchse hinten – 18 mm.
Drop-Link-Buchse hinten – 18 mm.
Passt – links und rechts.

4ER-SET
Ersatz für Porsche-Teile Nr. 91133379302
Passend für:
Porsche 911 1974-77 Hinten
Porsche 911 Turbo 1975-77
Porsche 914 1970-76 Hinten
Klicken Sie auf „Vergrößern“, um ein Diagramm mit großen Teilen anzuzeigen.
Diagramm Ref. Nr. 2.
Powerflex. Wenn Sie die Gummi-Aufhängungsbuchsen Ihres Autos durch Polyurethan-Aufhängungsbuchsen ersetzen, erhalten Sie:
- Bessere Straßenlage
- Konstante Lenkgeometrie
- Erhöhte Reifenlebensdauer
- Reaktionsschnellere Lenkung
- Längere Lebensdauer der Aufhängungskomponenten
Zugehörige Referenznummern
Verwandte, ersetzte, Querverweisoder Alternativnummern zum Vergleich.
PFR57-412-18
Das von Ihnen angezeigte Produkt verweist auf diese Nummern
Sicher einkaufen
12 Monate Garantie
Weltweite Lieferung
Stabilisatorbuchse D-Form (B 32 mm x L 35 mm) PowerFlex
- Porsche 911 1965-1968 2.0L / 912 SWB (F)
- Porsche 911 1968-1973 2.2L / 2.4L / 2.7L RS LWB (F)
- Porsche 964 (911) C2 1989-93
- Porsche 964 (911) C4 1989-93
- Porsche 964 (911) RS 3.6L 1991-93
- Porsche 964 (911) RS 3.8L 1991-93
- Porsche 964 (911) TURBO 3.3L 1991-93
- Porsche 964 (911) TURBO 3.6L 1991-93
- Porsche 993 (911) C2 1994-97
- Porsche 993 (911) C4 1994-97
- Porsche 993 (911) RS 1994-97
- Porsche 993 (911) C2S 1994-97
- Porsche 993 (911) C4S 1994-97
- Porsche 993 (911) TURBO 1994-96
- Porsche 993 (911) GT2 1994-97
- Porsche 993 (911) TURBO S 1994-97
- Porsche 924 2.0L 1976-79
- Porsche 924 2.0L 1980-85
- Porsche 924 Turbo 2.0L 1979-81
- Porsche 924 Turbo 2.0L 1982-84
- Porsche 924 Carrera GT 2.0L 1981
- Porsche 924 Carrera GTS 2.0L 1982
- Porsche 924S 2.5L 1986-87
- Porsche 924S 2.5L 1988
- Porsche 944 2.5L 8V 1982-87
- Porsche 944 2.7L 8V 1988-89
- Porsche 944S 2.5L 16V 1987-88
- Porsche 944S2 3.0L 16V 1989-91
- Porsche 944 Turbo 2.5L 8V 1985-88
- Porsche 944 Turbo 2.5L 8V 1989-91
- Porsche 944 Turbo S 2.5L 8V 1988
- Porsche 968 3.0L 1992-94
- Porsche 968 Sport 3.0L 1994-95
- Porsche 968 CS 3.0L 1993-95
- Porsche 968 Turbo S 3.0L 1993-94
- Porsche 928 4.5L 1978-82
- Porsche 928S 4.7L 1981-83
- Porsche 928S2 4.7L 1984-86
- Porsche 928S4 5.0L 1987-92
- Porsche 928GT 5.0L 1989-91
- Porsche 928GTS 5.4L 1992-95
- Porsche 356A 1955-59
- Porsche 356B 1959-63
- Porsche 356C 1963-65
- Porsche 914 (1970-1976)
2ER-SET.
Wenn Sie die Gummi-Aufhängungsbuchsen Ihres Autos durch Polyurethan-Aufhängungsbuchsen ersetzen, erhalten Sie:
- Bessere Straßenlage
- Konstante Lenkgeometrie
- Erhöhte Reifenlebensdauer
- Reaktionsschnellere Lenkung
- Längere Lebensdauer der Aufhängungskomponenten
Passend für:
Porsche 911 1965-98
Porsche 924 1977-88
Porsche 944 1982-91
Porsche 968 1992-95
Porsche 928 1978-95
Porsche 356 1950-65
Porsche 914 1970-76
Klicken Sie auf „Vergrößern“, um ein Diagramm mit großen Teilen anzuzeigen.
Diagramm Nr. 11
Zugehörige Referenznummern
Verwandte, ersetzte, Querverweisoder Alternativnummern zum Vergleich.
PFF57-209-
Das von Ihnen angezeigte Produkt verweist auf diese Nummern
Sicher einkaufen
12 Monate Garantie
Weltweite Lieferung
Stabilisatorbuchse rund für Porsche PowerFlex
- Porsche 964 (911) C2 1989-93
- Porsche 964 (911) C4 1989-93
- Porsche 964 (911) TURBO 3.3L 1991-93
- Porsche 964 (911) TURBO 3.6L 1991-93
- Porsche 993 (911) C2 1994-97
- Porsche 993 (911) C4 1994-97
- Porsche 993 (911) RS 1994-97
- Porsche 993 (911) C2S 1994-97
- Porsche 993 (911) C4S 1994-97
- Porsche 993 (911) TURBO 1994-96
- Porsche 993 (911) GT2 1994-97
- Porsche 993 (911) TURBO S 1994-97
- Porsche 924 2.0L 1976-79
- Porsche 924 2.0L 1980-85
- Porsche 924 Turbo 2.0L 1979-81
- Porsche 924 Turbo 2.0L 1982-84
- Porsche 924 Carrera GT 2.0L 1981
- Porsche 924 Carrera GTS 2.0L 1982
- Porsche 924S 2.5L 1986-87
- Porsche 924S 2.5L 1988
- Porsche 944 2.5L 8V 1982-87
- Porsche 944 2.7L 8V 1988-89
- Porsche 944S 2.5L 16V 1987-88
- Porsche 944S2 3.0L 16V 1989-91
- Porsche 944 Turbo 2.5L 8V 1985-88
- Porsche 944 Turbo 2.5L 8V 1989-91
- Porsche 944 Turbo S 2.5L 8V 1988
- Porsche 968 3.0L 1992-94
- Porsche 968 Sport 3.0L 1994-95
- Porsche 968 CS 3.0L 1993-95
- Porsche 968 Turbo S 3.0L 1993-94
- Porsche 928 4.5L 1978-82
- Porsche 928S 4.7L 1981-83
- Porsche 928S2 4.7L 1984-86
- Porsche 928S4 5.0L 1987-92
- Porsche 928GT 5.0L 1989-91
- Porsche 928GTS 5.4L 1992-95
- Porsche 356A 1955-59
- Porsche 356B 1959-63
- Porsche 356C 1963-65
- Porsche 914 (1970-1976)
2er-Set.
Wenn Sie die Gummi-Aufhängungsbuchsen Ihres Autos durch Polyurethan-Aufhängungsbuchsen ersetzen, erhalten Sie:
- Bessere Straßenlage
- Konstante Lenkgeometrie
- Erhöhte Lebensdauer der Reifen
- Besser ansprechende Lenkung
- Längere Lebensdauer der Aufhängungskomponenten
Passt:
Porsche 911 1965-98
Porsche 924 1977-88
Porsche 944 1982-91
Porsche 968 1992-95
Porsche 928 1978-95
Porsche 356 1950-65
Porsche 914 1970-76
Diagramm Nr. 11
Zugehörige Referenznummern
Verwandte, ersetzte, Querverweisoder Alternativnummern zum Vergleich.
PFF57-306-
Das von Ihnen angezeigte Produkt verweist auf diese Nummern
Sicher einkaufen
12 Monate Garantie
Weltweite Lieferung
Stabilisatorbuchse rund für Porsche PowerFlex
- Porsche 964 (911) C2 1989-93
- Porsche 964 (911) C4 1989-93
- Porsche 964 (911) RS 3.6L 1991-93
- Porsche 964 (911) RS 3.8L 1991-93
- Porsche 964 (911) TURBO 3.3L 1991-93
- Porsche 964 (911) TURBO 3.6L 1991-93
- Porsche 993 (911) C2 1994-97
- Porsche 993 (911) C4 1994-97
- Porsche 993 (911) RS 1994-97
- Porsche 993 (911) C2S 1994-97
- Porsche 993 (911) C4S 1994-97
- Porsche 993 (911) TURBO 1994-96
- Porsche 993 (911) GT2 1994-97
- Porsche 993 (911) TURBO S 1994-97
- Porsche 924 2.0L 1976-79
- Porsche 924 2.0L 1980-85
- Porsche 924 Turbo 2.0L 1979-81
- Porsche 924 Turbo 2.0L 1982-84
- Porsche 924 Carrera GT 2.0L 1981
- Porsche 924 Carrera GTS 2.0L 1982
- Porsche 924S 2.5L 1986-87
- Porsche 924S 2.5L 1988
- Porsche 944 2.5L 8V 1982-87
- Porsche 944 2.7L 8V 1988-89
- Porsche 944S 2.5L 16V 1987-88
- Porsche 944S2 3.0L 16V 1989-91
- Porsche 944 Turbo 2.5L 8V 1985-88
- Porsche 944 Turbo 2.5L 8V 1989-91
- Porsche 944 Turbo S 2.5L 8V 1988
- Porsche 968 3.0L 1992-94
- Porsche 968 Sport 3.0L 1994-95
- Porsche 968 CS 3.0L 1993-95
- Porsche 968 Turbo S 3.0L 1993-94
- Porsche 928 4.5L 1978-82
- Porsche 928S 4.7L 1981-83
- Porsche 928S2 4.7L 1984-86
- Porsche 928S4 5.0L 1987-92
- Porsche 928GT 5.0L 1989-91
- Porsche 928GTS 5.4L 1992-95
- Porsche 356A 1955-59
- Porsche 356B 1959-63
- Porsche 356C 1963-65
- Porsche 914 (1970-1976)
2ER-SET
Wenn Sie die Gummi-Aufhängungsbuchsen Ihres Autos durch Polyurethan-Aufhängungsbuchsen ersetzen, erhalten Sie:
- Bessere Straßenlage
- Konstante Lenkgeometrie
- Erhöhte Lebensdauer der Reifen
- Besser ansprechende Lenkung
- Längere Lebensdauer der Aufhängungskomponenten
Passt:
Porsche 911 1965-98
Porsche 924 1977-88
Porsche 944 1982-91
Porsche 968 1992-95
Porsche 928 1978-95
Porsche 356 1950-65
Porsche 914 1970-76
Klicken Sie auf „Vergrößern“, um ein großes Teilediagramm anzuzeigen.
Diagramm Nr. 11
Zugehörige Referenznummern
Verwandte, ersetzte, Querverweisoder Alternativnummern zum Vergleich.
PFF57-204-
Das von Ihnen angezeigte Produkt verweist auf diese Nummern
Sicher einkaufen
12 Monate Garantie
Weltweite Lieferung
Powerflex Buchsen mit lebenslanger Garantie
Powerflex ist stolz darauf, eine lebenslange Garantie auf die gesamte Produktpalette, die wir herstellen, anzubieten.
Unpräzise Handhabung? Ungleichmäßiger Reifenverschleiß? Bremsinstabilität?
Dies sind die häufigsten Probleme im Zusammenhang mit weichen, alternden oder defekten Aufhängungsbuchsen aus Gummimischungen. POWERFLEX-Produkte bieten Abhilfe.
Unsere Buchsen bieten: Verlängerte Reifenlebensdauer, Verbesserte Leistung, Erhöhte Sicherheit, Größere Kosteneffizienz