Guarnizioni delle porte
 Guarnizione in feltro porta interna. Porsche 911 >>1985 (OE n. 91154240301, 91154240401)
                        
                    
            
            
                    Guarnizione in feltro porta interna. Porsche 911 >>1985 (OE n. 91154240301, 91154240401)
                     
            
            
                    - Porsche 911 1965-1968 2.0L / 912 SWB (F)
- Porsche 911 1968-1973 2.2L / 2.4L / 2.7L RS LWB (F)
- Porsche 911 1974-1977 2.7L / 1976-77 3.0 Carrera
- Porsche 911 1978-1983 3.0L / SC
- Porsche 911 1975-1977 3.0L Turbo (930)
- Porsche 911 1978-1989 3.3L Turbo (930)
Adatto a:
Porsche 911 >>1985
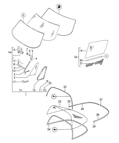
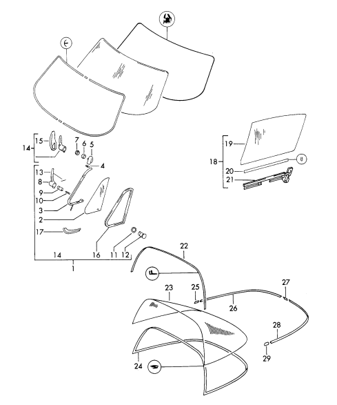
Diagramma rif. n. 25
Numeri di riferimento correlati
Numeri correlati, sostituiti, riferimenti incrociati o alternativi per il confronto.
91154240
Il prodotto che stai visualizzando fa riferimento a questi numeri
 Acquista in sicurezza
                                Acquista in sicurezza
                            
                             12 mesi di garanzia
                                12 mesi di garanzia
                            
                             Consegna in tutto il mondo
                                Consegna in tutto il mondo
                            
                     Guarnizione in feltro porta interna. Porsche 911 >>1985 (OE n. 91154240301, 91154240401)
                        
                    
            
            
                    Guarnizione in feltro porta interna. Porsche 911 >>1985 (OE n. 91154240301, 91154240401)
                     
            
            
                    - Porsche 911 1965-1968 2.0L / 912 SWB (F)
- Porsche 911 1968-1973 2.2L / 2.4L / 2.7L RS LWB (F)
- Porsche 911 1974-1977 2.7L / 1976-77 3.0 Carrera
- Porsche 911 1978-1983 3.0L / SC
- Porsche 911 1975-1977 3.0L Turbo (930)
- Porsche 911 1978-1989 3.3L Turbo (930)
Adatto a:
Porsche 911 >>1985
Riferimento diagramma n. 25
Numeri di riferimento correlati
Numeri correlati, sostituiti, riferimenti incrociati o alternativi per il confronto.
91154240
Il prodotto che stai visualizzando fa riferimento a questi numeri
 Acquista in sicurezza
                                Acquista in sicurezza
                            
                             12 mesi di garanzia
                                12 mesi di garanzia
                            
                             Consegna in tutto il mondo
                                Consegna in tutto il mondo
                            
                     Guarnizione canale vetro interno. Porsche 911/964
                        
                    
            
            
                    Guarnizione canale vetro interno. Porsche 911/964
                     
            
            
                    - Porsche 911 1965-1968 2.0L / 912 SWB (F)
- Porsche 911 1968-1973 2.2L / 2.4L / 2.7L RS LWB (F)
- Porsche 911 1974-1977 2.7L / 1976-77 3.0 Carrera
- Porsche 911 1978-1983 3.0L / SC
- Porsche 911 1984-1986 3.2L
- Porsche 911 1987-1989 3.2L G50
- Porsche 911 1975-1977 3.0L Turbo (930)
- Porsche 911 1978-1989 3.3L Turbo (930)
- Porsche 964 (911) C2 1989-93
- Porsche 964 (911) C4 1989-93
- Porsche 964 (911) RS 3.6L 1991-93
- Porsche 964 (911) RS 3.8L 1991-93
- Porsche 964 (911) TURBO 3.3L 1991-93
- Porsche 964 (911) TURBO 3.6L 1991-93
Adatto: lato sinistro e destro
Adatto a:
Porsche 911 1966-89
Porsche 964 1989-93
Diagramma Rif: 2
Numeri di riferimento correlati
Numeri correlati, sostituiti, riferimenti incrociati o alternativi per il confronto.
91154290500
Il prodotto che stai visualizzando fa riferimento a questi numeri
 Acquista in sicurezza
                                Acquista in sicurezza
                            
                             12 mesi di garanzia
                                12 mesi di garanzia
                            
                             Consegna in tutto il mondo
                                Consegna in tutto il mondo
                            
                     Guarnizione canale vetro interno. Porsche 911/964
                        
                    
            
            
                    Guarnizione canale vetro interno. Porsche 911/964
                     
            
            
                    - Porsche 911 1965-1968 2.0L / 912 SWB (F)
- Porsche 911 1968-1973 2.2L / 2.4L / 2.7L RS LWB (F)
- Porsche 911 1974-1977 2.7L / 1976-77 3.0 Carrera
- Porsche 911 1978-1983 3.0L / SC
- Porsche 911 1984-1986 3.2L
- Porsche 911 1987-1989 3.2L G50
- Porsche 911 1975-1977 3.0L Turbo (930)
- Porsche 911 1978-1989 3.3L Turbo (930)
- Porsche 964 (911) C2 1989-93
- Porsche 964 (911) C4 1989-93
- Porsche 964 (911) RS 3.6L 1991-93
- Porsche 964 (911) RS 3.8L 1991-93
- Porsche 964 (911) TURBO 3.3L 1991-93
- Porsche 964 (911) TURBO 3.6L 1991-93
Adatto: lato sinistro e destro
Adatto a:
Porsche 911 1966-89
Porsche 964 1989-93
Diagramma Rif: 2
Numeri di riferimento correlati
Numeri correlati, sostituiti, riferimenti incrociati o alternativi per il confronto.
91154290500
Il prodotto che stai visualizzando fa riferimento a questi numeri
 Acquista in sicurezza
                                Acquista in sicurezza
                            
                             12 mesi di garanzia
                                12 mesi di garanzia
                            
                             Consegna in tutto il mondo
                                Consegna in tutto il mondo
                            
                     Guarnizione in gomma per portiera, stile originale. Porsche 911 Coupé 1965-73
                        
                    
            
            
                    Guarnizione in gomma per portiera, stile originale. Porsche 911 Coupé 1965-73
                     
            
            
                    - Porsche 911 1965-1968 2.0L / 912 SWB (F)
- Porsche 911 1968-1973 2.2L / 2.4L / 2.7L RS LWB (F)
Door Seal è una guarnizione in gomma fedele all'originale per le portiere della classica Porsche 911F. Stampata con il corretto profilo a bulbo e labbro e la giusta densità, si adatta perfettamente all'apertura della portiera per creare una tenuta stagna all'aria e all'acqua, riducendo il rumore del vento e impedendo l'ingresso di umidità. Il contorno, la posizione dei giunti e i raggi degli angoli corrispondono al design di fabbrica, in modo che le portiere si chiudano con la corretta compressione e la "sensazione di fabbrica".
Venduti singolarmente. Adatto sia al lato sinistro che a quello destro.
Adatto a:
Porsche 911 F (1965 - 1973) COUPÉ
Schema rif. n. 26
Funzione: sigilla la porta contro la carrozzeria per tenere fuori acqua, polvere e vento; migliora la silenziosità della cabina e la sensazione di chiusura
Le vecchie guarnizioni si induriscono, si restringono o si strappano, causando rumore del vento, perdite d'acqua e porte che necessitano di un colpo secco per chiudersi. La sostituzione con questa guarnizione di ricambio originale ripristina la corretta compressione, migliora la forza di chiusura della porta, protegge gli interni e preserva il valore dei restauri.
Numeri di riferimento correlati
Numeri correlati, sostituiti, riferimenti incrociati o alternativi per il confronto.
90153109323
Il prodotto che stai visualizzando fa riferimento a questi numeri
 Acquista in sicurezza
                                Acquista in sicurezza
                            
                             12 mesi di garanzia
                                12 mesi di garanzia
                            
                             Consegna in tutto il mondo
                                Consegna in tutto il mondo
                            
                     Guarnizione porta in gomma, originale. Porsche 911 Coupé 1965-73
                        
                    
            
            
                    Guarnizione porta in gomma, originale. Porsche 911 Coupé 1965-73
                     
            
            
                    - Porsche 911 1965-1968 2.0L / 912 SWB (F)
- Porsche 911 1968-1973 2.2L / 2.4L / 2.7L RS LWB (F)

Si adatta:
Porsche 911 F (1965 - 1973) COUPÉ
Fai clic su "Ingrandisci" per il diagramma delle parti di grandi dimensioni
Diagramma rif. 26
Numeri di riferimento correlati
Numeri correlati, sostituiti, riferimenti incrociati o alternativi per il confronto.
90153109323
Il prodotto che stai visualizzando fa riferimento a questi numeri
 Acquista in sicurezza
                                Acquista in sicurezza
                            
                             12 mesi di garanzia
                                12 mesi di garanzia
                            
                             Consegna in tutto il mondo
                                Consegna in tutto il mondo
                            
                     Guarnizione in gomma per portiera. Porsche 912/911/964 Coupé
                        
                    
            
            
                    Guarnizione in gomma per portiera. Porsche 912/911/964 Coupé
                     
            
            
                    - Porsche 911 1965-1968 2.0L / 912 SWB (F)
- Porsche 911 1968-1973 2.2L / 2.4L / 2.7L RS LWB (F)
- Porsche 911 1974-1977 2.7L / 1976-77 3.0 Carrera
- Porsche 911 1978-1983 3.0L / SC
- Porsche 911 1984-1986 3.2L
- Porsche 911 1987-1989 3.2L G50
- Porsche 911 1975-1977 3.0L Turbo (930)
- Porsche 911 1978-1989 3.3L Turbo (930)
- Porsche 964 (911) C2 1989-93
- Porsche 964 (911) C4 1989-93
- Porsche 964 (911) RS 3.6L 1991-93
- Porsche 964 (911) RS 3.8L 1991-93
- Porsche 964 (911) TURBO 3.3L 1991-93
- Porsche 964 (911) TURBO 3.6L 1991-93
Adatto a: lato sinistro o destro

Si adatta:
Porsche 911 1966-89 Coupé
Porsche 964 1989-94 Coupé
Fare clic su "Zoom avanti" per il diagramma delle parti di grandi dimensioni
Rif. diagramma n. 24
Numeri di riferimento correlati
Numeri correlati, sostituiti, riferimenti incrociati o alternativi per il confronto.
91153109503
Il prodotto che stai visualizzando fa riferimento a questi numeri
 Acquista in sicurezza
                                Acquista in sicurezza
                            
                             12 mesi di garanzia
                                12 mesi di garanzia
                            
                             Consegna in tutto il mondo
                                Consegna in tutto il mondo
                            
                     Guarnizione porta in gomma. Porsche 912 / 911 / 964 Coupé
                        
                    
            
            
                    Guarnizione porta in gomma. Porsche 912 / 911 / 964 Coupé
                     
            
            
                    - Porsche 911 1965-1968 2.0L / 912 SWB (F)
- Porsche 911 1968-1973 2.2L / 2.4L / 2.7L RS LWB (F)
- Porsche 911 1974-1977 2.7L / 1976-77 3.0 Carrera
- Porsche 911 1978-1983 3.0L / SC
- Porsche 911 1984-1986 3.2L
- Porsche 911 1987-1989 3.2L G50
- Porsche 911 1975-1977 3.0L Turbo (930)
- Porsche 911 1978-1989 3.3L Turbo (930)
- Porsche 964 (911) C2 1989-93
- Porsche 964 (911) C4 1989-93
- Porsche 964 (911) RS 3.6L 1991-93
- Porsche 964 (911) RS 3.8L 1991-93
- Porsche 964 (911) TURBO 3.3L 1991-93
- Porsche 964 (911) TURBO 3.6L 1991-93
Adatto: lato sinistro o destro
Adatto a:
Porsche 911 1966-89 Coupé
Porsche 964 1989-94 Coupé
Diagramma rif. n. 24
Numeri di riferimento correlati
Numeri correlati, sostituiti, riferimenti incrociati o alternativi per il confronto.
91153109503
Il prodotto che stai visualizzando fa riferimento a questi numeri
 Acquista in sicurezza
                                Acquista in sicurezza
                            
                             12 mesi di garanzia
                                12 mesi di garanzia
                            
                             Consegna in tutto il mondo
                                Consegna in tutto il mondo
                            
                     Tappo per finestra di sfiato Targa 1/4 tappo di vetro. Porsche 911 targa/cabrio
                        
                    
            
            
                    Tappo per finestra di sfiato Targa 1/4 tappo di vetro. Porsche 911 targa/cabrio
                     
            
            
                    - Porsche 911 1965-1968 2.0L / 912 SWB (F)
- Porsche 911 1968-1973 2.2L / 2.4L / 2.7L RS LWB (F)
- Porsche 911 1974-1977 2.7L / 1976-77 3.0 Carrera
- Porsche 911 1978-1983 3.0L / SC
- Porsche 911 1984-1986 3.2L
- Porsche 911 1987-1989 3.2L G50
- Porsche 911 1975-1977 3.0L Turbo (930)
- Porsche 911 1978-1989 3.3L Turbo (930)

Si adatta:
Porsche 911 1965-89 Targa / Cabrio
Fai clic su "Ingrandisci" per il diagramma delle parti di grandi dimensioni.
Diagramma rif. n. 12.
Numeri di riferimento correlati
Numeri correlati, sostituiti, riferimenti incrociati o alternativi per il confronto.
91154206
Il prodotto che stai visualizzando fa riferimento a questi numeri
 Acquista in sicurezza
                                Acquista in sicurezza
                            
                             12 mesi di garanzia
                                12 mesi di garanzia
                            
                             Consegna in tutto il mondo
                                Consegna in tutto il mondo
                            
                     Tappo per finestra di sfiato Targa 1/4 tappo di vetro. Porsche 911 targa/cabrio
                        
                    
            
            
                    Tappo per finestra di sfiato Targa 1/4 tappo di vetro. Porsche 911 targa/cabrio
                     
            
            
                    - Porsche 911 1965-1968 2.0L / 912 SWB (F)
- Porsche 911 1968-1973 2.2L / 2.4L / 2.7L RS LWB (F)
- Porsche 911 1974-1977 2.7L / 1976-77 3.0 Carrera
- Porsche 911 1978-1983 3.0L / SC
- Porsche 911 1984-1986 3.2L
- Porsche 911 1987-1989 3.2L G50
- Porsche 911 1975-1977 3.0L Turbo (930)
- Porsche 911 1978-1989 3.3L Turbo (930)
Adatto a:
Porsche 911 1965-89 Targa/Cabrio
Schema rif. n. 12.
Numeri di riferimento correlati
Numeri correlati, sostituiti, riferimenti incrociati o alternativi per il confronto.
91154206
Il prodotto che stai visualizzando fa riferimento a questi numeri
 Acquista in sicurezza
                                Acquista in sicurezza
                            
                             12 mesi di garanzia
                                12 mesi di garanzia
                            
                             Consegna in tutto il mondo
                                Consegna in tutto il mondo
                            
                     Guarnizione della finestra di ventilazione. Porsche 911/912 65-76 Targa
                        
                    
            
            
                    Guarnizione della finestra di ventilazione. Porsche 911/912 65-76 Targa
                     
            
            
                    - Porsche 911 1965-1968 2.0L / 912 SWB (F)
- Porsche 911 1968-1973 2.2L / 2.4L / 2.7L RS LWB (F)
- Porsche 911 1974-1977 2.7L / 1976-77 3.0 Carrera
adatto solo ai modelli Targa con finestrino apribile.
Adatto a:
Porsche 911/912 1965-69 Targa con finestrino apribile
Porsche 911 1970-76 Targa con finestrino apribile
Diagramma Rif: 16
Numeri di riferimento correlati
Numeri correlati, sostituiti, riferimenti incrociati o alternativi per il confronto.
91154213
Il prodotto che stai visualizzando fa riferimento a questi numeri
 Acquista in sicurezza
                                Acquista in sicurezza
                            
                             12 mesi di garanzia
                                12 mesi di garanzia
                            
                             Consegna in tutto il mondo
                                Consegna in tutto il mondo
                            
                     Guarnizione per finestra di sfiato. Porsche 911/912 65-76 Targa
                        
                    
            
            
                    Guarnizione per finestra di sfiato. Porsche 911/912 65-76 Targa
                     
            
            
                    - Porsche 911 1965-1968 2.0L / 912 SWB (F)
- Porsche 911 1968-1973 2.2L / 2.4L / 2.7L RS LWB (F)
- Porsche 911 1974-1977 2.7L / 1976-77 3.0 Carrera
- Porsche 911 1978-1983 3.0L / SC
adatto solo ai modelli Targa con finestrino apribile.
Adatto a:
Porsche 911/912 1965-69 Targa con finestrino apribile
Porsche 911 1970-76 Targa con finestrino apribile
Diagramma Rif: 16
Numeri di riferimento correlati
Numeri correlati, sostituiti, riferimenti incrociati o alternativi per il confronto.
91154213
Il prodotto che stai visualizzando fa riferimento a questi numeri
 Acquista in sicurezza
                                Acquista in sicurezza
                            
                             12 mesi di garanzia
                                12 mesi di garanzia
                            
                             Consegna in tutto il mondo
                                Consegna in tutto il mondo
                            
                     Adesivo per guarnizioni di tenuta/guarnizioni in gomma
                        
                    
            
            
                    Adesivo per guarnizioni di tenuta/guarnizioni in gomma
                     
            
            
            
            
                Perfetto per sigillare le guarnizioni sui pannelli di portiere, cofano e bagagliaio.
 
Numeri di riferimento correlati
Numeri correlati, sostituiti, riferimenti incrociati o alternativi per il confronto.
00004330532
Il prodotto che stai visualizzando fa riferimento a questi numeri
 Acquista in sicurezza
                                Acquista in sicurezza
                            
                             12 mesi di garanzia
                                12 mesi di garanzia
                            
                             Consegna in tutto il mondo
                                Consegna in tutto il mondo
                            
                     Guarnizione in gomma per guida alzacristalli. Porsche 911/964/993
                        
                    
            
            
                    Guarnizione in gomma per guida alzacristalli. Porsche 911/964/993
                     
            
            
                    - Porsche 911 1965-1968 2.0L / 912 SWB (F)
- Porsche 911 1968-1973 2.2L / 2.4L / 2.7L RS LWB (F)
- Porsche 911 1974-1977 2.7L / 1976-77 3.0 Carrera
- Porsche 911 1978-1983 3.0L / SC
- Porsche 911 1984-1986 3.2L
- Porsche 911 1987-1989 3.2L G50
- Porsche 911 1975-1977 3.0L Turbo (930)
- Porsche 911 1978-1989 3.3L Turbo (930)
- Porsche 964 (911) C2 1989-93
- Porsche 964 (911) C4 1989-93
- Porsche 964 (911) RS 3.6L 1991-93
- Porsche 964 (911) RS 3.8L 1991-93
- Porsche 964 (911) TURBO 3.3L 1991-93
- Porsche 964 (911) TURBO 3.6L 1991-93
- Porsche 993 (911) C2 1994-97
- Porsche 993 (911) C4 1994-97
- Porsche 993 (911) RS 1994-97
- Porsche 993 (911) C2S 1994-97
- Porsche 993 (911) C4S 1994-97
- Porsche 993 (911) TURBO 1994-96
- Porsche 993 (911) GT2 1994-97
- Porsche 993 (911) TURBO S 1994-97

Si adatta:
Porsche 911 1969-89 TUTTE
Porsche 964 1989-94 TUTTE
Porsche 993 Coupé 1994-98
Fai clic su "ingrandisci" per il diagramma delle parti di grandi dimensioni.
Diagramma rif. n. 15.
Numeri di riferimento correlati
Numeri correlati, sostituiti, riferimenti incrociati o alternativi per il confronto.
91154249140
Il prodotto che stai visualizzando fa riferimento a questi numeri
 Acquista in sicurezza
                                Acquista in sicurezza
                            
                             12 mesi di garanzia
                                12 mesi di garanzia
                            
                             Consegna in tutto il mondo
                                Consegna in tutto il mondo
                            
                     Guarnizione in gomma per guida alzacristalli. Porsche 911/964/993
                        
                    
            
            
                    Guarnizione in gomma per guida alzacristalli. Porsche 911/964/993
                     
            
            
                    - Porsche 911 1965-1968 2.0L / 912 SWB (F)
- Porsche 911 1968-1973 2.2L / 2.4L / 2.7L RS LWB (F)
- Porsche 911 1974-1977 2.7L / 1976-77 3.0 Carrera
- Porsche 911 1978-1983 3.0L / SC
- Porsche 911 1984-1986 3.2L
- Porsche 911 1987-1989 3.2L G50
- Porsche 911 1975-1977 3.0L Turbo (930)
- Porsche 911 1978-1989 3.3L Turbo (930)
- Porsche 964 (911) C2 1989-93
- Porsche 964 (911) C4 1989-93
- Porsche 964 (911) RS 3.6L 1991-93
- Porsche 964 (911) RS 3.8L 1991-93
- Porsche 964 (911) TURBO 3.3L 1991-93
- Porsche 964 (911) TURBO 3.6L 1991-93
- Porsche 993 (911) C2 1994-97
- Porsche 993 (911) C4 1994-97
- Porsche 993 (911) RS 1994-97
- Porsche 993 (911) C2S 1994-97
- Porsche 993 (911) C4S 1994-97
- Porsche 993 (911) TURBO 1994-96
- Porsche 993 (911) GT2 1994-97
- Porsche 993 (911) TURBO S 1994-97

Adatto a:
Porsche 911 1969-89 TUTTE
Porsche 964 1989-94 TUTTI
Porsche 993 1994-98 Coupé
Fare clic su "Ingrandisci" per visualizzare lo schema delle parti più grandi.
Riferimento diagramma n. 15.
Numeri di riferimento correlati
Numeri correlati, sostituiti, riferimenti incrociati o alternativi per il confronto.
91154249140
Il prodotto che stai visualizzando fa riferimento a questi numeri
 Acquista in sicurezza
                                Acquista in sicurezza
                            
                             12 mesi di garanzia
                                12 mesi di garanzia
                            
                             Consegna in tutto il mondo
                                Consegna in tutto il mondo
                            
                    Guarnizioni per portiere Porsche | Guarnizioni in gomma Design911 per il comfort e la protezione dell'abitacolo
Le guarnizioni delle portiere sono fondamentali per preservare il comfort, la raffinatezza e l'integrità strutturale della tua Porsche. Questi componenti in gomma, realizzati con precisione, creano una barriera ermetica tra la portiera e il telaio della carrozzeria, impedendo ad acqua, vento e polvere di entrare nell'abitacolo. Contribuiscono inoltre a ridurre vibrazioni e rumore, preservando l'esperienza di guida fluida e silenziosa che i conducenti Porsche si aspettano.
Da Design911, disponiamo di una selezione di guarnizioni e guarnizioni per portiere di alta qualità, progettate per un montaggio preciso e una lunga durata. Ogni guarnizione è realizzata in gomma EPDM o neoprene di alta qualità per offrire flessibilità, tenuta e resistenza all'usura ambientale superiori. Che tu stia restaurando una Porsche d'epoca o eseguendo la manutenzione di un modello moderno, le nostre guarnizioni per portiere offrono la combinazione perfetta di protezione, comfort e prestazioni.
A cosa servono le guarnizioni delle porte?
Le guarnizioni delle portiere (note anche come guarnizioni di tenuta) garantiscono l'isolamento dell'abitacolo dagli elementi esterni, migliorando al contempo la raffinatezza complessiva e la tenuta strutturale del veicolo.
 Funzioni principali:
 • Creare una tenuta stagna e stagna tra la porta e il telaio della carrozzeria.
 • Riduce il rumore del vento e le vibrazioni per una guida più silenziosa.
 • Impedire all'umidità e alla polvere di penetrare all'interno.
 • Migliorare il controllo della climatizzazione dell'abitacolo e l'efficienza energetica.
 • Proteggere i pannelli interni e le finiture dai danni causati dall'acqua.
Le guarnizioni delle portiere montate correttamente mantengono il comfort tipico di Porsche, preservando al contempo le condizioni e il valore del veicolo.
Perché le guarnizioni delle porte si rompono o si deteriorano?
L'esposizione costante a sbalzi di temperatura, raggi UV e movimenti provoca nel tempo l'usura delle guarnizioni delle porte, con conseguenti perdite e problemi di rumore.
 Le cause più comuni di guasto includono:
 • Crepe, restringimenti o indurimento dovuti all'esposizione ai raggi UV e all'ozono.
 • Perdita di compressione o elasticità dovuta all'età o all'uso ripetuto della porta.
 • Contaminazione da sporcizia, olio o detriti stradali.
 • Strappi o deformazioni causati da porte disallineate.
 • Ritenzione di umidità che porta alla formazione di muffa o corrosione attorno ai telai.
Quando le guarnizioni delle portiere si deteriorano, il veicolo perde l'isolamento, consentendo all'acqua, al vento e al rumore di infiltrarsi nell'abitacolo, riducendo il comfort e aumentando il rischio di danni agli interni.
Perché sostituire o aggiornare le guarnizioni delle portiere della tua Porsche?
La sostituzione delle guarnizioni delle portiere vecchie o danneggiate ripristina l'ermeticità e la tenuta stagna dell'auto. I materiali di tenuta migliorati offrono maggiore flessibilità, recupero della compressione e durata a lungo termine.
 Vantaggi principali:
 • Ripristina la protezione dalle intemperie e l'isolamento acustico.
 • Elimina le perdite d'acqua e previene la corrosione.
 • Migliora il comfort della cabina e il controllo della temperatura.
 • Riduce il rumore del vento ad alte velocità.
 • Disponibile per Porsche 911, 944, 968, Boxster, Cayman e Panamera.
 • Perfetto per restauri, manutenzione o dettagli prestazionali.
Le guarnizioni per portiere Porsche di Design911 uniscono materiali di prima qualità e ingegneria di precisione per una tenuta perfetta, garantendo che la tua Porsche rimanga silenziosa, asciutta e comoda in tutte le condizioni.
Punti salienti
 • Guarnizioni e guarnizioni in gomma per portiere Porsche di alta qualità.
 • Progettato con precisione per una tenuta superiore e una riduzione del rumore.
 • Resistente ai raggi UV, all'ozono e alle temperature estreme.
 • Disponibile sia per i modelli Porsche classici che moderni.
 • Facile installazione e flessibilità duratura.
 • Perfetto per progetti di restauro, riparazione o dettaglio.
 
 
        
 
                                     
                                     
                                     
                                     
                                     
                 
                 
                 
                 
                 
                 
                 
                 
                 
                 
                 
                 
                 
                 
                 
                 
                 
                 
                 
                 
                 
                 
                