no presiones el botón para volver…
-
Partes del motor
-
- Refrigeración del motor Mangueras de agua / refrigerante Radiadores de agua / refrigerante Radiadores del refrigerante de pista y carrera Bombas de agua / refrigerante Botellas de refrigerante / Tanques de expansión Termostato / Sensor de temperatura Radiadores de aceite / Intercambiadores de calor Depósito de aceite Aceite del motor Refrigerante / Anticongelante
-
- Componentes eléctricos del motor Sensores de flujo / masa de aire Alternador / Generador Baterías y cargadores Relés / Fusibles Bobina de encendido Inyectores Motores de arranque Conmutador de temperatura / ventilador Sensor de temperatura Sensores de velocidad / referencia/ picado Arnés de cableado / Cables todas las categorias
-
- Piezas de reconstrucción del motor Piezas del sistema de aceite Piezas del sistema de combustible Juntas y juegos Sello radial/RMS/árbol de levas/eje de equilibrio Correas / Tensores / Rodillos Cadenas y Tensores Tapas de distribución y juntas Cojinetes del motor / revestimientos Válvulas de motor / Guías / Resortes Balancines Espárragos del motor Soportes del motor Segmentos Cilindros del motor / Camisas / Pistones Biela Culata Árbol de levas y piezas Engranajes de árbol de levas/piñones y fijaciones Piezas del cárter Cigüeñal y piezas Turbocompresores / Intercoolers y Piezas Admisión e inyección de aire todas las categorias
-
-
Frenos
-
- Frenos Paquete de discos y pastillas de freno Paquete de discos y pastillas de freno SPORTS Disco de freno estándar Pastillas de freno estándar Disco de freno SPORTS Frenos Brembo estándar Frenos Brembo Racing Frenos TEXTAR Frenos PAGID Racing Frenos Zimmermann Frenos de alto rendimiento SHW Frenos EBC Frenos Black Diamond de alta prestación Discos de freno O-Brake Línea Rotinger Grafito Repuesto para disco de cerámica Sensores de desgaste de pastillas de freno Laminillas antivibración de pastillas de freno Pernos de la pinza / Tornillos del disco Juego de pasadores y placas guía Mangueras de freno de alta prestación Mangueras de freno estándar todas las categorias
-
-
Suspensión y dirección
-
- Suspensión y eje Barra antivuelco Casquillos de la barra antivuelco Soporte de la barra antivuelco Juntas esféricas Estabilizadores y casquillos DELANTEROS Amortiguadores DELANTEROS Recambios Amortiguador DELANTERO Amortiguadores TRASEROS Piezas del amortiguador TRASERO Muelles helicoidales DELANTEROS Muelles helicoidales TRASEROS todas las categorias
-
Transmisión
-
- Caja de cambios / Transmisión Kits de embrague Pernos del embrague Piezas del cambio Ejes de transmisión y piezas Juegos de juntas del cambio Soportes del cambio Volante / Par Juegos de juntas homocinéticas Botas y kits homocinéticos Eje cardánico / Eje de transmisión Aceite del cambio Cárter del cambio / cárter de aceite Diferencial delantero Diferencial Caja de transferencia y piezas
-
-
Refrigeración y calefacción
-
- Calefacción / Aire acondicionado Condensadores y desecadores de aire acondicionado Tubos de aire acondicionado Relés / Sensores / Resistencias Compresores Motores y ventiladores para el aireador Aireadores del calefactor Mangueras y tubos de calefacción Control climático Carcasas de calefacción / climatización Bomba de refrigerante auxiliar
-
-
Electricidad e iluminación
-
- Componentes eléctricos y relés Bombas de combustible Conmutador de la ventana Motores de la ventana Mecanismo de la ventana Mecanismo del limpiaparabrisas Claxon eléctrico Unidades de control SmartTop Conmutador de ignición Conmutador del techo / techo solar Relés / Fusibles Bombas / botellas / chorros de lavado Alarmas / Seguridad / Cierre centralizado Centralita electrónica Piezas y conmutadores del salpicadero / consola Motores y activadores del capó / portón trasero / alerón Airbags y piezas Localizador Carcasa del conector Arnés de cableado
-
-
Carrocería y escape
-
- Chasis / Carrocería Chasis de restauración / Paneles de reparación Amortiguador del capó Amortiguador del maletero Capós / Cerraduras y pestillos Capó trasero / Maletero / Cerraduras y pestillos Maletero / Portón trasero Parachoques delantero Parachoques trasero Puertas / Cerraduras y pestillos Paneles de puertas | Bisagras | Placas de delantero Elevalunas Alerones delanteros y piezas Paneles laterales del umbral Molduras exteriores del chasis Espejos y piezas Láminas / adhesivos para virutas de piedra Soporte del chasis y el motor Limpiaparabrisas / Escobillas Brazos y escobillas del limpiaparabrisas trasero Revestimientos y cubiertas del arco de la rueda Techo - Cabrio / Targa / Coupé Cubiertas de plástico todas las categorias
-
- Escapes Silenciadores deportivos Silenciadores / Silenciadores conmutables Silenciadores / Amortiguadores de sonido Catalizador / Bypass Tubos de escape Paquete de escape Juntas de escape Tuercas / pernos / espárragos de escape Soportes / Abrazaderas / Correas Juegos de accesorios de escape Escape Remus todas las categorias
-
-
Lubricantes y fluidos
-
- Piezas de repuesto Kits de repuesto originales Filtros de aceite Filtros de aire Filtros de polen / partículas Filtros de combustible Correas de todo tipo Bujías Bujías IRIDIUM POWER Bobinas de ignición Limpiaparabrisas / Escobillas Brazos y escobillas del limpiaparabrisas trasero Piezas de repuesto del cambio Aceite del motor y lubricantes - Mobil Aceite del motor y lubricantes - Total Aceite del motor y lubricantes - Castrol Aceite del motor y lubricantes - Motul Aceite del motor y lubricantes - Millers Oils NanoDrive Aceite del motor y lubricantes - Millers Oils Aditivos del combustible Refrigerante / Anticongelante Aceite de dirección asistida EPI de garaje
-
-
Todas las partes
-
- Piezas Accesorios Chasis / Carrocería Frenos Ropa y regalos Componentes eléctricos y relés Refrigeración del motor Componentes eléctricos del motor Piezas de reconstrucción del motor Piezas de alta prestación Escapes Diseño exterior / alerones Caja de cambios / Transmisión Calefacción / Aire acondicionado Componentes hidráulicos Interior y Accesorios Elementos instalados / Multimedia Iluminación Tapetes y alfombras Deportes de motor y todoterreno Juego de pedales Sellos de goma Asientos y cinturones de seguridad todas las categorias
-
- Back to main website
Introduzca aquí su número de identificación fiscal (NIF o VAT number) y haga clic en Verificar:
No necesita incluir el código de país de su NIF, dado que ya lo ha indicado antes en su dirección de facturación.
Se han verificado sus datos. NIF registrado a nombre de:
###NUEVO MÉJICO###,
.
Su pedido cuenta ahora con una tasa cero a efectos de IVA. Nos reservamos el derecho a verificar estos datos después de que haya solicitado su pedido y a restablecer el IVA si fuese necesario.
Sus datos de identificación fiscal no han sido reconocidos o no son válidos. Su NIF debe coincidir con el país de facturación que especificó anteriormente. Actualmente se ha especificado como . No necesita incluir el código de país de su NIF, do que ya lo ha indicado antes en los datos de su dirección de facturación.
El servicio de verificación de NIF no está disponible en este momento. Le rogamos que indique sus datos del NIF en los comentarios e en el cuadro de instrucciones especiales que encontrará abajo y le aplicaremos un descuento en el IVA tras realizar su solicitud de pedido.
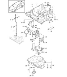
Tapón de sumidero. Porsche Cayenne / Macan / Panamera ❭ PAF911679
- Porsche 958 Cayenne V6 3.0L Diesel (245Hp) 2010-17
- Porsche 9YA Cayenne V6 3.0L Petrol (340Hp) 2018-23
- Porsche 9YA Cayenne S V6 2.9L Petrol (440Hp) 2018-23
- Porsche 9YA Cayenne Turbo V8 4.0L Petrol (550Hp) 2020-23
- Porsche 970.1 Panamera Diesel V6 3.0L 2011-13
- Porsche 970.2 Panamera Diesel V6 3.0L (250Hp) 2014-16
- Porsche 971.1 Panamera V6 3.0L 2WD (330 Hp) 2017-20
- Porsche 971.1 Panamera 4 V6 3.0L 4WD (330 Hp) 2017-20
- Porsche 971.1 Panamera 4 V6 3.0L 4WD Executive 2017-20
- Porsche 971.1 Panamera 4 3.0L Turbocharged V6 Sport Turismo 2017-20
- Porsche 971.1 Panamera 4S V6 3.0L 4WD (440 Hp) 2017-20
- Porsche 971.1 Panamera 4S V6 3.0L 4WD Executive 2017-20
- Porsche 971.1 Panamera 4S 2.9L Twin-Turbo V6 Sport Turismo 2017-20
- Porsche 971.1 Panamera Turbo V8 4.0L 4WD (550 Hp) 2017-20
- Porsche 971.1 Panamera Turbo V8 4.0L 4WD Executive 2017-20
- Porsche 95B.1 Macan S Diesel 3.0L V6 (258Bhp) 2014-18

Encaja:
Porsche 958 Cayenne 3.0L diésel 2012-18
Porsche 9YA Cayenne 3.0L / S 2.9L 2018>>
Porsche 9YA Cayenne 4.0 V8 Turbo 2018>>
Porsche 970 Panamera 3.0L diésel 2012-16
Porsche 971 Panamera 3.0L/S 2.9L 2017>>
Porsche 971 Panamera 4.0L V8 Diésel 2017>>
Porsche 971 Panamera 4.0L V8 Turbo 2017>>
Porsche 95B Macan V6 TDI 3.0L 2014-18
Haga clic en 'Acercar' para ver el diagrama de piezas grandes.
Diagrama ref no 30
Números de referencia relacionados
Números relacionados, reemplazados, de referencia cruzada o alternativos para comparación.
PAF911679
El producto que está viendo hace referencia cruzada a estos números
- Porsche 958 Cayenne V6 3.0L Diesel (245Hp) 2010-17
- Porsche 9YA Cayenne V6 3.0L Petrol (340Hp) 2018-23
- Porsche 9YA Cayenne S V6 2.9L Petrol (440Hp) 2018-23
- Porsche 9YA Cayenne Turbo V8 4.0L Petrol (550Hp) 2020-23
- Porsche 970.1 Panamera Diesel V6 3.0L 2011-13
- Porsche 970.2 Panamera Diesel V6 3.0L (250Hp) 2014-16
- Porsche 971.1 Panamera V6 3.0L 2WD (330 Hp) 2017-20
- Porsche 971.1 Panamera 4 V6 3.0L 4WD (330 Hp) 2017-20
- Porsche 971.1 Panamera 4 V6 3.0L 4WD Executive 2017-20
- Porsche 971.1 Panamera 4 3.0L Turbocharged V6 Sport Turismo 2017-20
- Porsche 971.1 Panamera 4S V6 3.0L 4WD (440 Hp) 2017-20
- Porsche 971.1 Panamera 4S V6 3.0L 4WD Executive 2017-20
- Porsche 971.1 Panamera 4S 2.9L Twin-Turbo V6 Sport Turismo 2017-20
- Porsche 971.1 Panamera Turbo V8 4.0L 4WD (550 Hp) 2017-20
- Porsche 971.1 Panamera Turbo V8 4.0L 4WD Executive 2017-20
- Porsche 971.2 Panamera 2.9L V6 2021-23
- Porsche 971.2 Panamera 4 2.9L V6 2021-23
- Porsche 971.2 Panamera 4 Sport Turismo 2.9L V6 2021-23
- Porsche 971.2 Panamera 4S 2.9L V6 2021-23
- Porsche 971.2 Panamera 4S Sport Turismo 2.9L V6 2021-23
- Porsche 971.2 Panamera 4 E-Hybrid 2.9L V6 2021-23
- Porsche 971.2 Panamera 4 E-Hybrid Sport Turismo 2.9L V6 2021-23
- Porsche 971.2 Panamera 4S E-Hybrid 2.9L V6 2021-23
- Porsche 971.2 Panamera 4S E-Hybrid Sport Turismo 2.9L V6 2021-23
- Porsche 971.2 Panamera GTS 4.0L V8 2021-23
- Porsche 971.2 Panamera GTS Sport Turismo 4.0L V8 2021-23
- Porsche 971.2 Panamera Turbo S 4.0L V8 2021-23
- Porsche 971.2 Panamera Turbo S Sport Turismo 4.0L V8 2021-23
- Porsche 971.2 Panamera Turbo S E-Hybrid 4.0L V8 2021-23
- Porsche 971.2 Panamera Turbo S E-Hybrid Sport Turismo 4.0L V8 2021-23
- Porsche 95B.1 Macan S Diesel 3.0L V6 (258Bhp) 2014-18

Encaja:
Porsche 958 Cayenne 3.0L diésel 2012-18
Porsche 9YA Cayenne 3.0L / S 2.9L 2018>>
Porsche 9YA Cayenne 4.0 V8 Turbo 2018>>
Porsche 970 Panamera 3.0L diésel 2012-16
Porsche 971 Panamera 3.0L/S 2.9L 2017>>
Porsche 971 Panamera 4.0L V8 Diésel 2017>>
Porsche 971 Panamera 4.0L V8 Turbo 2017>>
Porsche 95B Macan V6 TDI 3.0L 2014-18
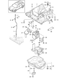
Haga clic en 'Acercar' para ver el diagrama de piezas grandes.
Diagrama ref no 31
Números de referencia relacionados
Números relacionados, reemplazados, de referencia cruzada o alternativos para comparación.
N0138495
El producto que está viendo hace referencia cruzada a estos números
- Porsche 95B.1 Macan Petrol 2.0L (237Bhp) 2014-18

Encaja:
Porsche 95B Macan 2.0L 2014-18
Haga clic en 'Acercar' para ver el diagrama de piezas grandes.
Diagrama ref no 13
Números de referencia relacionados
Números relacionados, reemplazados, de referencia cruzada o alternativos para comparación.
95810364911
El producto que está viendo hace referencia cruzada a estos números
- Porsche 95B.1 Macan Petrol 2.0L (237Bhp) 2014-18

Encaja:
Porsche 95B Macan 2.0L 2014-18
Haga clic en 'Acercar' para ver el diagrama de piezas grandes.
Diagrama ref no 13
Números de referencia relacionados
Números relacionados, reemplazados, de referencia cruzada o alternativos para comparación.
95810364911
El producto que está viendo hace referencia cruzada a estos números
Lunes a viernes: 8.30 a 17.30 h (GMT) Sábado: cerrado Domingo: cerrado